L'étrier à encoche et âme intérieure TU16 permet un assemblage invisible. L'encoche en tête facilite la pose sur le chantier.
Etrier en acier galvanisé de 3 mm d'épaisseur.
Avantages
- Assemblage invisible
- Mise en œuvre optimisée conforme aux Eurocodes
- Utilisable en angle
- Tenue au feu 1/2h ou 1h en suivant certaines préconisations.
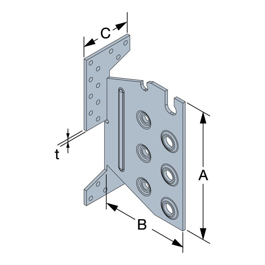
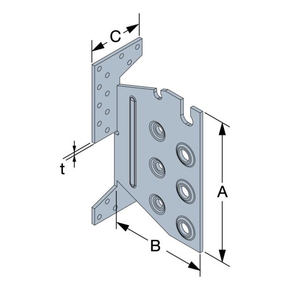
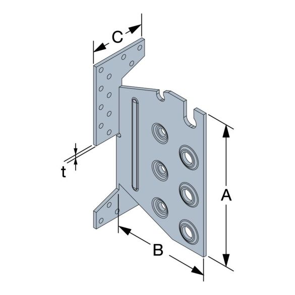
DIMENSIONS ET PERÇAGES
A = 134 mm ; B = 104,5 mm ; C = 60 mm ; t = 3 mm.
Dimensions poutre :
Largeur min/max : 60/160 mm.
Hauteur min/max : 160/240 mm.
Perçages sur porteur : 18 x Ø5.
Perçages sur porté : 3 x Ø12,5.
FIXATIONS SUR PORTEUR BOIS
Pointes annelées Ø4,0x50 mm ou vis Ø5,0x40 mm
FIXATIONS SUR PORTÉ
Broches en acier S235JR type STD12
La longueur des broches doit être inférieure ou égale à la largeur de la solive portée.
SUPPORT
— Porteur : bois massif, lamellé-collé, bois composite
— Porté : bois massif, lamellé-collé, bois composite
UTILISATION
Solives, pannes, poutres porteuses.

INSTALLATION
- Réaliser une entaille verticale dans la poutre portée (largeur 9 mm pour les TU16).
- Identifier la position des broches sur la poutre avant de percer transversalement.
- Insérer uniquement la première broche dans la poutre sur la partie supérieure (diamètre de perçage fonction du diamètre de la broche).
- Réaliser un lamage d’une profondeur de 6 mm dans le support. Ce lamage n’est pas obligatoire, il permet d’améliorer l’esthétique de l’assemblage.
- Fixer l’étrier sur le support à l’aide de pointes ou de vis.
- Présenter la poutre portée de manière à placer la broche déjà en place dans l’encoche de l’étrier.
- Mettre en place les broches restantes.